Dujų balionas (EURO PH 300 BAR) (MIX ArC18) (užpildytas Gaschema dujomis) - 8
Instead of €100.00
Description
Pagrindinės savybės
-
Sertifikuotas
-
Užpildomas
-
Skirtas: techninis suvirinimo mišinys ArC18 (82 % Ar / 18 % CO₂)
-
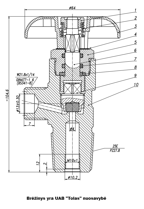
Balionas: PH315 bar
-
Darbinis slėgis: 200 bar
-
Tūris: 8 litrai - kompaktiškas, mobilus ir patogus transportuoti
-
Pajungimas: 21,8 mm veržlė (standartinė prisukama jungtis EU tipo)
Kam rekomenduojama?
-
Metalo konstrukcijų gamyba
-
Automobilių remontas ir kėbulų darbai
-
Metalo dirbtuvės
-
Mobili suvirinimo paslauga
-
Mokymo įstaigos ir suvirinimo praktika

DUJŲ PAPILDYMAS
DUJŲ BALIONŲ PAPILDYMAS
Pasibaigus dujoms, balioną galima pasikeisti mūsų atstovybėse arba papildyti kituose dujų centruose (gali būti taikomi papildomi mokesčiai). Balionas atitinka visus galiojančius ES standartus. Jam suteikiama 10 metų atitikties patikra nuo pagaminimo datos, o pasibaigus šiam terminui ji gali būti pratęsta.
DUJŲ BALIONŲ KEITIMAS
Mūsų įmonė dujų baionus keičia (vietoje nepildome). Tuščias balionas pakeičiamas į pilną, parenkant artimiausią (pagal nusidėvėjimą bei patikros datą). Norint dujas papildyti į savo balioną, jį reikia palikti, tai gali užtrukti nuo kelių dienų iki savaitės.
Techninės dujos. Ką gaunate?
Profesionaliai ir kokybiškai, ACHEMA gamykloje užpildytas dujų balionas su Gaschema ArC18 mišiniu - tai patikimas sprendimas saugiame PH315 bar slėgio balione, kurio darbinis slėgis siekia 200 bar. Lietuvoje pagamintas dujų mišinys yra aukščiausios kokybės ir turi visas reikiamas atitikties deklaracijas.
Tai idealus pasirinkimas mobiliam ir preciziškam suvirintojo darbui. Naudojant šį ArC18 mišinį, pasiekiami švaresni suvirinimo rezultatai, sumažinamas taškymas ir pagerinama suvirinimo proceso kontrolė.


Baliono aukštis (H) ~ 80 cm
Diametras (D) ~ 15 cm

be UAB Tolas sutikimo - draudžiama kopijuoti, platinti.
Kodėl verta rinktis balioną su šiuo dujų mišiniu?
■ Stabilesnis ir švaresnis suvirinimo procesas
Argono dominavimas mišinyje sukuria tolygią lanko struktūrą, pagerina vonelės kontrolę ir sumažina įkaitusio metalo purslus.
■ Aukštesnė siūlės kokybė
Mišinys leidžia pasiekti glotnesnį paviršių, geresnį įlydį ir sumažina papildomą valymo laiką po suvirinimo.
■ Puikiai tinka konstrukciniams plienams
ArC18 yra vienas universaliausių MIG/MAG suvirinimo dujų mišinių, ypač efektyvus dirbant su S235, S355 ir kitais dažniausiai naudojamais plienais.
■ Efektyvus naudojimas
200 bar slėgio 8 l talpos balionas pasižymi optimaliu dujų kiekiu mobiliems meistrams ir nedidelėms dirbtuvėms. Aukštas slėgis ir sertifikuotas PH315bar atlaikantis korpusas garantuoja maksimalų saugumą ir patikimumą.
■ Patikimas ir standartizuotas pajungimas
21,8 mm veržlė užtikrina greitą ir sandarų prijungimą prie daugumos Europos MIG/MAG reduktorių.





